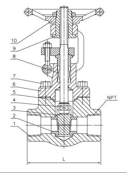
Válvula compuerta de acero forjado
- Diseño y fabricación: API 602
- Termina la conexión:
- SW Dimensión: ANSI B16.11
- Jodido dimensión: ANSI B1.20.1
- BW dimensión: ANSI B16.25
- Dimensión de brida: ANSI B16.5
- Caracteristica de la construccion: Tapa atornillada y fuera de jodidos yugo o tapa soldadura con autogena y fuera de jodidos yugo
- Prueba e inspección: API 598
- Material del cuerpo: A105、F304、F316、F304L、F316L、F5、F11、F22
Presión: 150LB-1500LB

Descripción del producto
| Rango de presión y tamaño: |
150LB - 2500LB |
| DN15 to DN50 |
| 1/2"~2" |
| Material: |
Cuerpo: A105,LF2,F11+HF,F304(L),F316(L),F51 |
| Disco: F6a,F304,F304(L),F316(L),F51GG2 |
| Stem : 410,304,304(L),316(L),F51 |
| Capó: A105,LF2,F11+HF,F304(L),F316(L),F51 |
| Tipo II: |
Volante, engran, eléctrico, eje desnudo y etc. |
| Estructura: |
Vástago ascendente o vástago no ascendente |
| Conexión de brida: |
EN1092, ANSI B16.5, BS4504, JIS B2212 |
| Medio: |
agua |
| Temperatura: |
80°C |
Si quiere saber más detalles, por favor envie un correo electronico a nosotros solidvalves@aliyun.com. |
|